Пролетарская свобода - На главную страницу
 RUS | ENG 
  Пролетарская свобода - оборудование для производства лущеного шпона и фанеры

 

Производство фанеры — Нанесение клея

Главная | Склеивание фанеры | Нанесение клея

Клеевой слой образуется нанесением жидкого клея на одну из склеиваемых поверхностей или прокладыванием сухой клеевой пленки между листами шпона.

Клей наносят на листы шпона на клеена носящим станках, которые могут быть для дву- и одностороннего нанесения. Больше распространены станки дляя двустороннего нанесения. Они могут быть с верхним и нижним питанием (рис. 55, а) или только с нижним питанием (рис. 55, б).

Рис. 55. Схема нанесения клея клеенаносящим станком: а — с верхним и нижним питанием, б — с нижним питанием; 1 — клеевой слой, 2 — дозирующий валик, 3 — шпон, 4 — барабаны, 5 — корыто с клеем

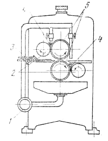
Устройство клеенаносящих станков с нижним и верхним питанием показано на рис. 56. Клеевой раствор насосом 1 подают по трубопроводам в пространство между дозирующими валиками 2 и барабанами 5. Вращаясь, барабаны и валики забирают клей 4 и переносят его на движущийся между барабанами лист шпона 3.

Рис. 56. Устройство клеенаносящих станков с нижним и верхним питанием: 1 — насос, 2 — дозирующий валик, 3 — шпон, 4 — клей, 5 — барабан

Клеенаносящие станки с нижним питанием имеют , станину, на которой укреплены вращающиеся в противоположные стороны чугунные барабаны. Под барабанами находится корыто, наполненное клеевым раствором. Поверхность барабана, погруженного на треть диаметра в корыто, все время покрыта клеем. Для удобства ухода за станком (чистка, промывка) корыто может подниматься или опускаться.

Процесс нанесения клея на станке заключается в следующем. Из находящегося над станком бака или из трубопровода, несущего клеевой раствор из клееприготовительного отделения, корыто наполняется клеем. Нижний барабан, вращаясь, забирает из корыта клей и наносит его на верхний барабан. Таким образом, к верхнему барабану на станке с нижним питанием клей подается только с нижнего барабана. Поэтому если длина листа шпона больше, чем длина окружности барабана, то часть верхней поверхности шпона может оказаться ненамазанной. Чтобы этого не случилось, необходимо обмакнуть кромку шпона в клей, опуская ее в корыто.

Просвет между барабанами регулируют, поднимая винтовым устройством верхний барабан. Для точности установки просвета маховик винтового устройства имеет диск с делениями, показывающими величину просвета.

Толщина клеевого слоя зависит от вязкости клея, давления верхнего барабана, качества шпона, частоты вращения и вида барабанов (в зависимости от назначения барабаны могут быть гладкими или рифлеными).

Установив просвет между клеенаносящими барабанами, открывают краны для заполнения ванны клеем, затем включают станок и приступают к наладке его на толщину клеевого слоя. Для этого пропускают через станок пробные листы шпона и по каждому из них определяют количество клея, нанесенное на 1 м 2 поверхности шпона. Это количество по окончании наладки станка должно находиться в пределах норм, предусмотренных технологическим режимом.


150002, Ярославль, Б.Федоровская, 103
Тел. (4852) 45-00-01 (8.00-21.00)
Факс (4852) 45-00-02 (8.00-21.00)
Отд. сбыта (4852) 48-63-48 (8.00-17.00)
stanki@fanmash.ru
Схема проезда


Яндекс.Метрика