Пролетарская свобода - На главную страницу
 RUS | ENG 
  Пролетарская свобода - оборудование для производства лущеного шпона и фанеры

 

Производство фанеры — Конструкция нагревательной плиты

Главная | Склеивание фанеры | Конструкция нагревательной плиты

Конструкция нагревательной плиты
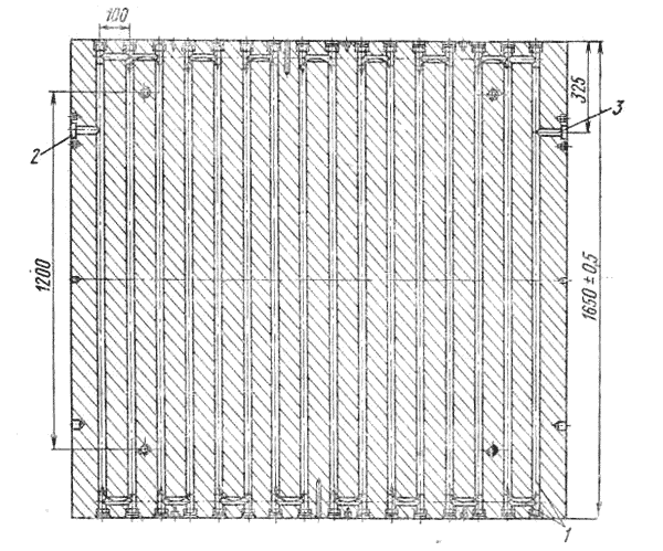
Рис. 64. Конструкция нагревательной плиты:
1 - лабиринтная система отверстий, 2 — канал выхода пара, 3 — канал входа пара

Нагревательные плиты прессов (рис. 64) изготовляют из стали и шлифуют. Внутри плит имеется лабиринтная система отверстий 1, обеспечивающая равномерное нагревание и охлаждение поверхности плиты. Продольные отверстия в преющих плитах высверливают. Для создания системы зигзагообразных путей между продольными отверстиями прожигают перемычки специальной горелкой. Пар поступает в канал 3 и выходит из канала 2. Наружные отверстия каналов заделывают пробками 2 (рис. 65) на газовой резьбе. Для более надежного уплотнения в соединениях устанавливают медные уплотнительные прокладки 1.

Заделка продольных каналов нагревательных плит пресса
Рис. 65. Заделка продольных каналов нагревательных плит пресса:
1 — уплотнительная прокладка, 2 — пробка

Бели плиты нагреваются неравномерно (из-за засорения каналов), отвинчивают пробки и каналы прочищают, Необходимо систематически удалять накипь из каналов греющих плит, пользуясь слабым раствором соляной кислоты и раствором щелочи. Для предохранения плит пресса от попадания на них смолы плиты обрабатывают специальными составами или тонкими металлическими листами.

Все соединения системы нагревания и охлаждении плит пресса должны быть надежно уплотнены, иначе неизбежны потери пара и воды, повышение влажности воздуха в цехе, что вызывает ухудшение качества фанеры. Для надежного уплотнения соединений паропроводов используют паронитовые прокладки толщиной 2—4 мм.


150002, Ярославль, Б.Федоровская, 103
Тел. (4852) 45-00-01 (8.00-21.00)
Факс (4852) 45-00-02 (8.00-21.00)
Отд. сбыта (4852) 48-63-48 (8.00-17.00)
stanki@fanmash.ru
Схема проезда


Яндекс.Метрика