Пролетарская свобода - На главную страницу
 RUS | ENG 
  Пролетарская свобода - оборудование для производства лущеного шпона и фанеры

 

Производство фанеры — Производство фенолформальдегидных смол

Главная | Смолы и клеи | Производство фенолформальдегидных смол

Производство фенолформальдегидных смол
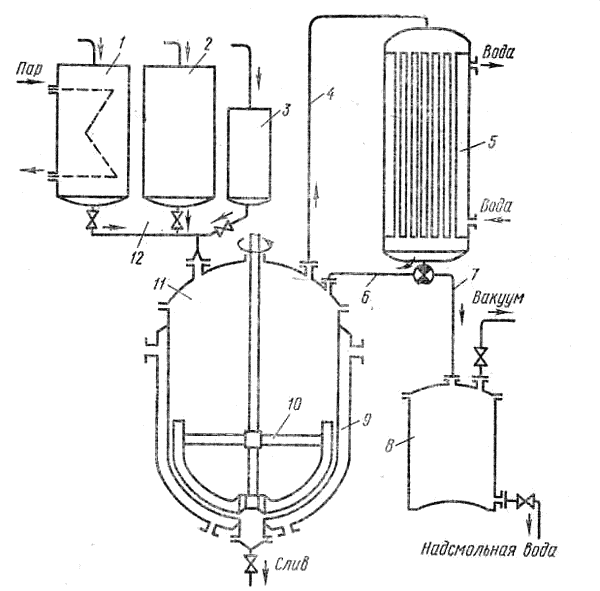
Получение фенолформальдегидных смол резольного типа зависит от условий и области их применения. Применяемые в фанерной промышленности типы фенольных смол получают по технологической схеме, показанной на рис. 52.
Технологическая схема производства фенолформальдегидных смол
Рис. 52. Технологическая схема производства фенолформальдегидных смол: 1 — мерник фенола, 2 — мерник формалина, 3 — мерник катализатора, 4, 6, 7, 12 — трубопроводы, 5 — холодильник, 8 — вакуум-сборник, 9 — паровая рубашка, 10 — мешалка, 11 — реактор

Исходное сырье, предварительно проанализированное заводской лабораторией в соответствии с действующими ГОСТами и техническими условиями, дозируется весовыми или объемными мерниками. Конденсацию проводят в реакторах, снабженных мешалками, холодильниками и приборами (термометры, манометры, вакуумметры), позволяющими контролировать процесс.
В общем виде процесс конденсации фенольных смол в щелочной среде происходит следующим образом.
В рубашку 9 реактора пускают пар и нагревают реактор до 40—45°С. В реактор 11 загружают расплавленный фенол или жидкие фенолы (фенольную фракцию, трикрезол и др.) из мерника 1 по трубопроводу 12, а затем при работающей мешалке 10 раствор едкого натра или другого щелочного катализатора из мерника 3. Перемешивание продолжают 20—40 мин. Затем включают холодильник 5 на обратное действие, т.е. конденсат может по трубопроводу 4, холодильнику 5 и трубопроводу 6 вернуться в реактор 11. При работающей мешалке загружают воду и формалин из мерника 2.
Смесь нагревают до тех пор, пока температура не достигнет 50—70°С, а иногда и выше, после чего обогрев выключают. Так как процесс взаимодействия фенола с формальдегидом протекает с большим выделением тепла (реакция экзотермическая), для поддержания температуры в требуемых пределах периодически вводят в рубашку реактора холодную воду для охлаждения.
После выдержки реакционной смеси, которая соответствует периоду образования первичных продуктов и их частичной поликонденсации, для большинства смол температуру реакции повышают до кипения (96—98°С).
При этом следят, чтобы кипение реакционной массы было равномерным и не бурным. Интенсивность кипения регулируют периодической подачей в рубашку реактора пара или холодной воды.
В процессе кипения ускоряется поликонденсация первичных соединений, снижается содержание свободного фенола и формальдегида в смоле, нарастает ее вязкость. Последующие операции представляют собой различной продолжительности выдержки смолы при температуре 70—90°С до получения требуемой вязкости. Затем в рубашку реактора подают холодную воду и охлаждают смолу до температуры 20—30°С, после чего сливают ее в приемники. Для получения повышенной концентрации и вязкости смолу подвергают частичному обезвоживанию в вакууме. Для этого переключают холодильник на прямое действие по трубопроводам 4 и 7, включают вакуум-насос через вакуум-сборник 8. Вакуум-сушку смолы ведут при 70—75°С и разрежении не менее 480—500 мм рт.ст.
По окончании вакуум-сушки включают обратный холодильник и охлаждают полученную смолу до 20—30°С. По внешнему виду клеящие фенолформальдегидные смолы представляют собой прозрачные жидкости различной вязкости, от светло-янтарного до темновишневого цвета. Они обладают специфическим фенольным запахом.
Предельно допустимая концентрация фенола в воздухе производственных помещений составляет 5 мг/куб.м.


150002, Ярославль, Б.Федоровская, 103
Тел. (4852) 45-00-01 (8.00-21.00)
Факс (4852) 45-00-02 (8.00-21.00)
Отд. сбыта (4852) 48-63-48 (8.00-17.00)
stanki@fanmash.ru
Схема проезда


Яндекс.Метрика