Пролетарская свобода - На главную страницу
 RUS | ENG 
  Пролетарская свобода - оборудование для производства лущеного шпона и фанеры

 

Производство фанеры — Поточно-механизированная линия тепловой обработки

Главная | Тепловая обработка сырья | Поточно-механизированная линия тепловой обработки

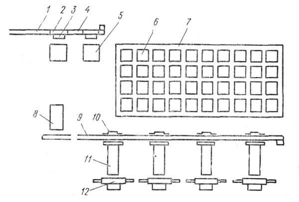
Центральным научно-исследовательским институтом фанеры (ЦНИИФ) предложена поточно-механизированная линия тепловой обработки чураков (рис. 9) при температуре воды 40°С.

Линия включает один бассейн 7, который разделен] на несколько секций, что удобно для очистки бассейна от грязи. Сырье загружают в бассейн в контейнерах, мостовым краном. Чураки автоматически рассортировываются по диаметрам на две группы: диаметром 16 — 32 см и диаметром выше 32 см. Продолжительность про-: гревания чураков второй группы больше, чем первой.
Схема поточной механизированной линии гидротермической обработки чураков и подачи к лущильным станкам
Рис. 9. Схема поточной механизированной линии гидротермической обработки чураков и подачи их к лущильным станкам: 1 — Приемный конвейер, 2 — переукладчик чураков, 3 — приемный стол для чураков, 4 — промежуточный конвейер, 5 — укладчик чураков, 6 — контейнеры, 7—-бассейн, 8 — раскатчик чураков, 9— конвейер к лущильным станкам, 10 — сбрасыватель чураков, 11 — конвейер-накопитель, 12 — лущильные станки.

Открытый бассейн (рис. 10) состоит из нескольких секций, собранных из железобетонных элементов. Ширина секции соответствует максимальной длине обрабатываемых кряжей.
Механизированный открытый бассейн для тепловой обработки кряжей
Рис. 10. Механизированный открытый бассейн для тепловой обработки кряжей: 1 — сбрасыватель, 2 — разгрузочный конвейер, 3 — накопитель кряжей, 4 — крышка, 5 —грейферный захват, 6 — бетонная разделительная тумба, 7 — стены бассейна, 8 — козловой кран, Р — передвижной перегрузчик, 10 — разгрузочный конвейер, 11 — рельсы для передвижения перегрузчика, 12 — рельсы для передвижения крана, 13 — отверстия для воды

Каждая секция разделена парными тумбами 6 на ряд отсеков или ячеек, которые загружают кряжами с помощью грейферного захвата 5 козловым краном 8, передвигающимся по подкрановым рельсам 12. На время тепловой обработки загрузочные ячейки закрывают крышками 4, которые представляют собой противовсплывные устройства. Они также уменьшают теплопотери с открытой поверхности бассейна. При работе бассейна одна из секций всегда находится под загрузкой и разгрузкой (в остальных загруженных секциях древесина прогревается). Кран и перегрузчик устанавливают против этой секции. Кряжи с загрузочного конвейера сбрасываются в соответствующий накопитель для сырья с определенной группой диаметров. Грейфер последовательно перемещается от накопителя к бассейну, загружая одну ячейку, и от бассейна к перегрузчику, разгружая другую ячейку.
Все секции бассейна, заполненные водой, сообщаются между собой через отверстия 13. Температура воды поддерживается на уровне 30—40° С. Подогревают ее паром, проходящим через трубы, имеющие отверстия.

Производительность ячейки бассейна Q (м3) определяется по формуле
Производительность ячейки бассейна
где L — длина кряжей или чураков, м;
h — высота ячейки, м;
В — ширина ячейки, м;
К — коэффициент заполнения ячейки сырьем (0,50—0,55);
Т — время работы ячейки, ч;
тп — время прогрева, ч;
твсп — продолжительность загрузки и выгрузки ячейки, ч.


150002, Ярославль, Б.Федоровская, 103
Тел. (4852) 45-00-01 (8.00-21.00)
Факс (4852) 45-00-02 (8.00-21.00)
Отд. сбыта (4852) 48-63-48 (8.00-17.00)
stanki@fanmash.ru
Схема проезда


Яндекс.Метрика