Пролетарская свобода - На главную страницу
RUS | ENG 
  Пролетарская свобода - оборудование для производства лущеного шпона и фанеры

 

Патент 2440244 - Гидравлический многоэтажный пресс с гидроцилиндрами подъема и нагревательными плитами

 
Авторы патента:
  • Кузнецов Владислав Борисович (RU)
  • Широков Александр Владимирович (RU)
  • Перевозников Василий Николаевич (RU)
Владельцы патента:
  • Общество с ограниченной ответственностью "Близнецы" (RU)

Изобретения относятся к машиностроению, в частности к гидравлическим многоэтажным прессам, используемым в деревообрабатывающей промышленности. Пресс содержит станину с рабочими цилиндрами, два гидроцилиндра подъема, два гидроцилиндра поворота, подвижные верхнюю и нижнюю плиты. Между плитами расположены нагревательные плиты. На крышках гидроцилиндров подъема размещена траверса. На подвижной верхней плите расположен распределитель нагрузки с выступами. Выступы входят в отверстия захватов с рычагами. Гидроцилиндры подъема штоками подвешены сверху к перекладинам силовых стоек. На силовых стойках установлены гидроцилиндры поворота с возможностью осуществления одновременного перемещения рычагов с помощью объединяющих перекладин. Нагревательные плиты объединены упругими связями с двух противоположных сторон, обращенных к силовым стойкам. В результате обеспечивается возможность установки пресса без специального фундамента, повышаются его эксплуатационные свойства. 3 н. и 2 з.п. ф-лы, 8 ил.

Группа изобретений относится к машиностроению, а именно к гидравлическим многоэтажным прессам, и может быть использована в деревообрабатывающей промышленности для изготовления и отделки древесных плит, фанеры, слоистых пластиков и т.д.

На фиг.1 представлен общий вид пресса. Левая половина с сомкнутыми нагревательными плитами, правая с раздвинутыми нагревательными плитами.
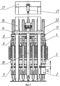
На фиг.2 представлен вид сбоку без гидроцилиндров поворота.
На фиг.3 представлен вид сверху по стрелке А.
На фиг.4 - сечение Б-Б гидроцилиндра подъема при поднятой траверсе. Нагревательные плиты разъединены.
На фиг.5 - вид по стрелке В на нагревательные плиты со стороны установки рычагов с пружинами при расположении подвижной верхней плиты, в крайнем верхнем положении.
На фиг.6 - вид по стрелке В на нагревательные плиты со стороны установки рычагов с пружинами при расположении подвижной верхней плиты, в крайнем нижнем положении.
На фиг.7 представлен вид по стрелке Г на кронштейн с рычагами.
На фиг.8 представлен вид по стрелке Д на нагревательную плиту.

Известен пресс, который содержит станину, колонны с поперечиной, нагревательные плиты, связанные с колоннами с помощью упругих связей, например пружин, и два гидропривода, расположенные сверху и снизу. Смыкание нагревательных плит осуществляется двумя мощными силовыми гидроцилиндрами, установленными сверху и снизу с большим диаметром плунжера, а размыкание - при помощи пружин. Для изготовления таких силовых гидроцилиндров требуется специальное дорогостоящее оборудование. Установка имеет металлоемкую поддерживающую конструкцию, а использование их предполагает наличие мощных нагревательных плит, которые изготавливаются и используются до сих пор. Работа этих силовых гидроцилиндров для холостого и рабочего хода приводит к большим энергетическим и материальным затратам. Использование пружин для размыкания плит приводит к хаотическому отрыву их друг от друга, что приводит к колебанию нагревательных плит с изделием. Эти колебания передаются шлангам теплоносителя, что является причиной нарушения герметичности стыков их с соответствующими элементами нагревательных плит. Все это снижает надежность работы пресса и повышает себестоимость выпускаемой продукции. Чем больше этажность и зазор между разомкнутыми нагревательными плитами, тем меньше эффективность работы такого пресса. Поэтому их применение целесообразно для малоэтажных прессов с малым зазором между разомкнутыми нагревательными плитами. Такая конструкция пресса исключает применение нагревательных плит, согнутых хотя бы в одной плоскости.

Известен пресс, который содержит верхнюю и нижнюю поперечины в виде плит, стянутые направляющими колоннами. Между нижней и верхней плитами расположена подвижная плита, перемещаемая посредством подъемных и рабочих цилиндров. На подвижной плите сверху расположены нагревательные плиты с промежутками между ними. См. описание к патенту RU №2136499 от 14.01.97, опубл. 10.09.99. Бюл. №25. Повышается этажность таких прессов, при этом и за счет уменьшения зазора между плитами. Использование минимум четырех подъемных цилиндров уменьшает энергетические и материальные затраты. Но для получения минимального времени смыкания нагревательных плит и максимальной производительности пресса требуется высокопроизводительная насосная установка с двигателями большой мощности. Установка пресса требует специального фундамента с заглублением, что приводит к увеличению стоимости пресса и ухудшению обслуживания элементов конструкции пресса, расположенных в заглубленной части.

Такая конструкция пресса исключает применение нагревательных плит, согнутых хотя бы в одной плоскости. Сложная конструкция с использованием проставок и множества конструктивных элементов не только усложняет конструкцию пресса, но и снижает его надежность. При этом силовые цилиндры тоже проходят путь холостого хода. Такая конструкция пресса исключает и применение нагревательных плит, согнутых хотя бы в одной плоскости. В данной конструкции отсутствует механизм раскрытия плит и их взаимосвязь.

Известен пресс, принятый за прототип, который имеет рамную конструкцию с нижним расположением рабочих цилиндров, а смыкание нагревательных плит происходит сверху вниз под их собственным весом при сбросе давления в подъемных цилиндрах. Пресс содержит основание в виде неподвижной станины, рабочие цилиндры, подвижную траверсу, которая лежит на плунжерах рабочих цилиндров, нагревательные плиты, упорные стойки, неподвижную плиту, верхнюю подвижную промежуточную плиту в виде траверсы, гидроцилиндры подъема, проставки с гидроцилиндрами перемещения. При этом нагревательные плиты развешаны с зазором на упорах, которые в свою очередь установлены на упорных стойках, прикрепленных к верхней подвижной промежуточной плите, и должны иметь четыре типа размера для данной конкретной реализации. Верхняя подвижная промежуточная плита передвигается с помощью четырех гидроцилиндров подъема, играющих роль и направляющих колонн. Проставки перемещаются по направляющим, установленным снизу верхней неподвижной плиты. Рабочие цилиндры установлены на нижней неподвижной плите, которая является станиной, стягивающей снизу силовую рамную секцию. См. описание к патенту RU №2294838 от 14.05.2005, опубл. 10.03.2007. Бюл. №7. Хотя данная конструкция пресса менее металлоемка и имеет упрощенную конструкцию установки проставок, она далека от совершенства. Хотя и уменьшена глубина заглубления фундамента, тем самым улучшены условия обслуживания элементов конструкции пресса, расположенных в заглубленной части, наличия заглубления не удалось избежать. Установка минимум четырех гидроцилиндров подъема требует синхронности их работы, что снижает надежность работы их в системе смыкания - размыкания нагревательных плит. Наличие упорных стоек предполагает четыре типа размера нагревательных плит для данной конкретной реализации. Все это приводит к повышенному потреблению энергетических и других материальных ресурсов, что в итоге приводит к повышению себестоимости выпускаемой продукции.

Известен гидроцилиндр подъема, если вместо рабочего агента - воздуха использовать рабочий агент масло. Он состоит из корпуса, расположенного между двумя крышками. В крышках имеются отверстия, через которые рабочий агент подается в цилиндр. В цилиндре размещен поршень, который перемещается за счет подачи агента в то или иное отверстие крышки. Подключение цилиндра осуществляется за счет гибких шлангов. Поршень соединен со штоком, проходящим через втулку, запрессованную в центральное отверстие передней крышки и имеющую уплотнение, прижатое фланцем. См. Чистяков A.M. «Прессы для деревообрабатывающей промышленности». - М: Лесная промышленность, 1970, стр.12. Применение этих гидроцилиндров для смыкания и размыкания нагревательных плит возможно только в составе четырех таких гидроцилиндров подъема с тщательной установкой по вертикали, и соблюсти движение по вертикали штока длиной более двух метров без его отклонения практически невозможно. Да и сама система представленного штока, поршня и цилиндра не позволит выдвигать шток более чем на метр.

Известен принятый за прототип гидроцилиндр подъема, который состоит из корпуса, расположенного между днищем и крышкой. В корпусе имеются два отверстия, через которые рабочий агент подается в цилиндр. Одно отверстие расположено между поршнем и днищем с проушиной для его шарнирной установки. Второе отверстие расположено с другой стороны цилиндра у втулки, расположенной выступом на другом торце корпуса. Поршень расположен на конце штока при помощи двух установочных пружинных колец с упором штока в днище крышки при нижнем расположении штока, с образованием нижней полости под поршнем, соединенной с первым отверстием. При этом полость над поршнем соединена со вторым отверстием. Поршень имеет на наружном диаметре два разнесенных опорных кольца, между которыми расположено герметичное уплотнение. Имеется герметичное уплотнение между внутренним диаметром поршня и штоком. Втулка при помощи крышки фиксирует втулку от перемещения. Втулка по внешнему диаметру имеет герметичное уплотнение, а по внутреннему диаметру два разнесенных опорных кольца, между которыми расположено герметичное уплотнение между ней и штоком, который выступает за пределы крышки с окончанием под шарнирное соединение. См. каталог ЗАО «Спецгидравлика», С-П, в Интернете по адресу http://www.s-gidravlika.ru/gc10/htm. Данный гидроцилиндр подъема позволяет производить выдвижение штока более чем на два метра, но применение этих гидроцилиндров для смыкания и размыкания нагревательных плит применимо только в составе четырех таких гидроцилиндров подъема с тщательной установкой по вертикали. Выполнить движение по вертикали штока длиной более двух метров без его отклонения от нее практически невозможно.

Известна нагревательная плита прессов, которая изготавливается из нержавеющей стали и которая состоит из монолитных толстых плит с просверленными каналами, концы которых закрыты заглушками или пробками на резьбе. См. Андрезен А.В., Блохин М.И. «Справочник фанерщика». - М.-Л.: «ГОСЛЕСБУМИЗДАТ», 1953, стр.170, 171, рис.68. Изготовление таких плит трудоемко и требует значительных материальных затрат и энергетических ресурсов. Такая конструкция нагревательной плиты практически исключает и изготовление нагревательных плит, согнутых хотя бы в одной плоскости.

Известна нагревательная плита, которая состоит из двух параллельно расположенных листов, между которыми перпендикулярно им расположены ребра в виде перегородок. Длина ребра меньше одной из сторон, параллельно которой они установлены. Ребра эти установлены со смещением относительно друг друга и соединены с листами при помощи сварки. Иногда ребра с нижним листом изготавливаются заодно из толстой плиты с выстругиванием каналов. См. Чистяков A.M. «Прессы для деревообрабатывающей промышленности». - М.: «Лесная промышленность», 1970, стр.136, 137, рис.55д. Хотя такая конструкция нагревательной плиты практически позволяет изготовление нагревательных плит, согнутых хотя бы в одной плоскости, изготовление таких плит остается трудоемким и требует значительных материальных затрат и энергетических ресурсов.

Известна принятая за прототип нагревательная плита, выполненная из двух полуплит, стянутых между собою болтами. В продольных отверстиях плиты, образуемых полукруглыми пазами полуплит, размещаются трубы, открытые с обоих концов. Концы труб проходят через отверстия в заглушках и обварены кольцевыми швами. Концы труб выступают на 10-15 мм из заглушек и входят в расточки продольных каналов распределителей. Шаг и количество продольных каналов равны шагу установки и размеру труб. Между собой продольные каналы соединяются поперечными каналами, количество и расположение которых определяется схемой потоков теплоносителя. См. описание к патенту RU №2293016 от 07.02.05, опубл. 10.02.07. Бюл. №4. Данное изобретение позволяет несколько снизить трудоемкость изготовления и добиться ремонтопригодности плит. Однако изготовление таких плит остается трудоемким и требует значительных материальных затрат и энергетических ресурсов, а также исключает возможность изготовления плит согнутых и объемных.

Задачей группы изобретений является создание конструкции пресса, при котором процесс прессования являлся бы эффективным и имел наибольшую загрузку обрабатываемых изделий широкого профиля, низкую металлоемкость и эффективность с меньшим потреблением энергетических затрат. Был универсальным и с широким ассортиментом получаемых изделий.

Технический результат группы изобретений заключается в уменьшении металлоемкости пресса с возможностью установки его без использования специального фундамента при повышении его эксплуатационных свойств, а именно, при загрузке и прессовании, а также в упрощении и улучшении обслуживания, что в итоге сказывается на снижении себестоимости конечного продукта.

Технический результат достигается тем, что гидравлический многоэтажный пресс, состоящий из станины с нижним расположением рабочих цилиндров, гидроцилиндров подъема, подвижной верхней плиты и подвижной нижней плиты, расположенной на плунжерах рабочих цилиндров, и между которыми расположены нагревательные плиты, дополнительно содержит траверсу, расположенную с двух сторон на сферических наконечниках крышек гидроцилиндров подъема и распределитель нагрузки, расположенный на подвижной верхней плите и имеющий выступы, выходящие за пределы ее поперечных габаритов и входящие в отверстия захватов с рычагами, которые при помощи шарнирного соединения по вертикали расположены на станине между выступами основания, количество которых соответствует количеству рабочих цилиндров, а два гидроцилиндра подъема штоками подвешены сверху к перекладинам силовых стоек, которые снизу расположены на одном уровне с основанием, за пределами поперечных габаритов основания, а на силовых стойках установлены по два гидроцилиндра поворота с возможностью осуществления одновременного перемещения рычагов с помощью объединяющих перекладин, при этом нагревательные плиты, в том числе расположенные на подвижной верхней плите и подвижной нижней плите, объединены упругими связями с двух противоположных сторон, обращенных к силовым стойкам.

При этом выступы распределителя нагрузки выполнены с направляющими, а подвижные верхняя и нижняя плиты имеют разъемные формообразующие части.

Гидроцилиндр подъема, содержащий корпус, расположенный между днищем и крышкой и выполненный с двумя отверстиями для подачи рабочего агента, поршень, втулку, крышку, причем одно из отверстий корпуса расположено между поршнем и днищем, а второе - с другой стороны цилиндра над поршнем у втулки с выступом, расположенным на другом торце корпуса, при этом поршень расположен посредством двух установочных пружинных колец на конце штока, который имеет возможность упора в днище крышки при его нижнем расположении с образованием нижней полости под поршнем, соединенной с первым отверстием, а полость над поршнем соединена со вторым отверстием, при этом поршень имеет на наружном диаметре проточки для двух разнесенных опорных колец, между которыми расположено герметичное уплотнение, а шток имеет проточку с герметичным уплотнением между ним и поршнем, крышка выполнена обеспечивающей фиксирование втулки от перемещения, при этом втулка по внешнему диаметру имеет проточку с герметичным уплотнением, а по внутреннему диаметру - две проточки с опорными кольцами и проточку с герметизирующим уплотнением между ней и штоком, который выступает за пределы крышки и выполнен с окончанием для подсоединения, при этом крышка выполнена ступенчатой с расположенным на конце малого диаметра выступом, торцевая часть которого выполнена со сферическим наконечником для обеспечения стыковки крышки с траверсой.

Нагревательная плита, содержащая коллектор, образованный размещенными внутри плиты трубами, для достижения технического результата содержит каркас в виде нижнего металлического листа с установленными на нем сверху прямолинейными отрезками прямоугольного профиля, расположенными параллельно друг другу, коллектор совмещен с каркасом и состоит из двух параллельно расположенных труб прямоугольного профиля, являющихся направляющими для получения поверхности нагревательной плиты, и расположенных между ними прямолинейных отрезков прямоугольных труб, расположенных параллельно друг другу и перпендикулярно к направляющим трубам, имеющим отверстия для обеспечения свободного перемещения теплоносителя в коллекторе, на котором с внешней стороны к двум крайним прямолинейным отрезкам прямолинейных труб по всей длине установлены полосы торца с двумя кронштейнами для обеспечения упругих связей между смежными нагревательными плитами, при этом сверху совмещенные каркас и коллектор накрыты верхним металлическим листом.

Пресс имеет рамную конструкцию и состоит из станины 1 в виде неподвижного основания, на котором расположены рабочие цилиндры 2. На плунжерах рабочих цилиндров 2 расположена подвижная нижняя плита 3. Над подвижной нижней плитой 3 установлена подвижная верхняя плита 4, а между ними расположены нагревательные плиты 5. Сверху подвижной верхней плиты 4 имеются выступы 6, выходящие за ее поперечные габариты с двух противоположных сторон. Выступы 6 имеют направляющие 7 и входят в отверстия захватов 8 с рычагами 9. Снизу рычаги 9 закреплены на станине 1 с помощью шарнирных соединений 10. Сверху захваты 8 имеют объединяющие перекладинами 11 (см. фиг.2, 3), к которым подсоединены штоки 12 (см. фиг.3) гидроцилиндров поворота 13. Другие концы гидроцилиндров поворота 13 установлены на выступающих концах поручней 14, которые при помощи стоек 15, расположенных в горизонтальной плоскости, закреплены на силовых стойках 16 (см. фиг.2). Силовые стойки 16 сверху объединены перекладиной 17. На каждой перекладине 17 посередине подвешено по гидроцилиндру подъема 18, осуществляющих перемещение вверх-вниз траверсы 19 (см. фиг.1) вместе с подвижной верхней плитой 4 с выступами 6 и нагревательными плитами 5, способствуя смыканию и размыканию последних. Траверса 19 соединена с подвижной верхней плитой 4 при помощи тяг 20. Гидроцилиндр подъема 18 установлен на перекладине 17 (см. фиг.2) при помощи наконечника 21.

Гидроцилиндр подъема 18 состоит из корпуса 22 (см. фиг.4) с глухим дном 23 и разнесенными вдоль его оси двумя отверстиями 24 со штуцерами 25 для подключения шлангов подачи агента в разделенные поршнем 26 полости корпуса 22. Нижняя полость 27 предназначена для перемещения поршня 26 со штоком 28 и его выдвижения из корпуса 22, а верхняя полость 29 предназначена для перемещения штока 28 в исходное положение и перемещения тем самым штока 28 внутрь корпуса 22. Сверху на свободном торце корпуса 22 расположена направляющая втулка 30, которая выступом 31 при помощи ступенчатой крышки 32 фиксирует втулку 30 от перемещения. Шток 28 проходит через осевые отверстия втулки 30 и ступенчатой крышки 32, которые совпадают с осью внутреннего отверстия корпуса 22. Торец крышки 32 малого диаметра имеет сферический наконечник 33, на который опирается ответная часть 34 траверсы 19. На наружном диаметре крышки 32 большего диаметра имеются две параллельные лыски 35, сделанные под ключ для ее установки.

Смежные нагревательные плиты 5 связаны между собой упругими связями, например пружинами 36 (см. фиг.5). Для этого на торцевых сторонах нагревательных плит 5, обращенных к силовым стойкам 16, имеются разнесенные вдоль этих сторон кронштейны 37, состоящие из отрезков Ш-образного профиля, длиной меньше толщины нагревательной плиты 5. Ш-образные профили соединены с нагревательной плитой 5 неразъемным соединением (см. фиг.7). При этом стойки Ш-образного профиля каждой нагревательной плиты 5 расположены в горизонтальной плоскости и направлены навстречу друг другу, одна из которых соединена с нагревательной плитой неразъемным соединением. Две другие стойки Ш-образного профиля имеют сквозные отверстия с совпадающей осью вращения 38, расположенной в горизонтальной плоскости и перпендикулярной вертикальной плоскости, проходящей через ось симметрии пресса 39 (см. фиг.3). В эти сквозные отверстия вставлена ось шарнирного соединения 40 (см. фиг.7) с шайбами 41. Между наружной и средней стойкой Ш-образного профиля на оси шарнирного соединения 40 установлены концы пружинного рычага 42, среднего рычага 43 и вспомогательного рычага 44. Между этими рычагами установлены промежуточные шайбы, аналогичные шайбам 41. Свободные концы пружинного рычага 42, среднего рычага 43 и вспомогательного рычага 44 имеют сквозные отверстия, оси которых параллельны оси вращения 38. При этом в эти сквозные отверстия свободных концов пружинного рычага 42 и вспомогательного рычага 44 установлены перемещающиеся оси шарнирного соединения 45. Свободный конец среднего рычага 43 расположен под осью шарнирного соединения 45 и предназначен для установки его между свободных концов пружинного рычага 42 и вспомогательного рычага 44 на перемещающуюся ось шарнирного соединения 45 ниже расположенной нагревательной плиты 5. Свободное место вдоль оси шарнирного соединения 45, между концами пружинного рычага 42 и вспомогательного рычага 44, расположенного на фиг.7, предназначено для установки среднего рычага 43 от расположенной выше нагревательной плиты 5. Конец пружинного рычага 42 сделан удлиненным и с изгибом 46 наружу и отверстием на конце этого изгиба для установки пружины 36.

Нагревательные плиты 5 состоят из каркаса, который представляет собой согнутый по радиусу R (см. фиг.1) нижний металлический лист 47 (см. фиг.8) с установленными на нем сверху прямолинейными отрезками 48 прямоугольного профиля. Прямолинейные отрезки 48 каркаса расположены параллельно друг другу между направляющими радиуса R и с расстоянием между этими прямолинейными отрезками 48, равным h2. Нагревательные плиты 5 снабжены греющим контуром, т.н. коллектором, состоящим из двух параллельно расположенных труб 49 прямоугольного профиля, согнутых по радиусу R, являющиеся направляющими для получения цилиндрической поверхности и расположенными между ними других прямолинейных отрезков коллектора 50 прямоугольных труб. Прямолинейные отрезки коллектора 50 прямоугольных труб расположены параллельно друг другу и перпендикулярно к трубам 49 прямоугольного профиля; согнутым по радиусу R с образованием свободного прохода для перемещения теплоносителя в коллекторе из труб 49 в трубы прямолинейных отрезков коллектора 50 и наоборот. Прямоугольные трубы коллектора и прямоугольные трубы каркаса имеют профиль одинакового размера шириной, равной h3, и должны соответствовать условию неравенства, при котором h2>h3, где h2 - расстояние между прямолинейными отрезками каркаса в миллиметрах, а h3 - ширина профиля для изготовления прямолинейных отрезков каркаса и прямолинейных отрезков коллектора в миллиметрах. Сверху совмещенные каркас и коллектор накрыты верхним металлическим листом 51, согнутым по радиусу R с учетом толщины нижнего листа 47 и высоты прямолинейных отрезков. Если высоту прямолинейных отрезков каркаса и коллектора принять за величину, равную h4, а толщину каждого нижнего и верхнего листа принять одинаково равной t, то высота нагревательной плиты будет равна 2t+h4, где h4 - высота прямолинейных отрезков каркаса и коллектора в миллиметрах, a t толщина каждого нижнего и верхнего листов в миллиметрах.

Пресс изготавливается из разнообразного стального профиля марки Ст.3, в основном труб прямоугольного сечения, листа и представляет собой сварную каркасную конструкцию, удобную для монтажа, профилактического осмотра с обеспечением доступа к основным узлам и механизмам.

Далее конкретная реализация изготовления и сборки пресса будет показана на примере четырнадцатиэтажного пресса с получением фанеры разной толщины с радиусом изгиба 3260 мм и габаритными размерами нагревательных плит в плане 1730х1760 мм для изготовления латофлекса.

Станина 1 выполнена из парных прямоугольных листов стали размером 300x420 мм и толщиной 40,0 мм, установленных на длинное ребро под рабочими цилиндрами 2 с выходом части этих листов за габаритные размеры подвижной нижней плиты для установки шарнирных соединений 10. Между этих парных прямоугольных листов, образующих выступы основания, установлены на длинное ребро плиты размером 300х1730 мм и расположены они в виде поперечины сразу под двумя рабочими цилиндрами 2, установленными с разных сторон основания (см. фиг.1). Сверху парных прямоугольных листов сформирована горизонтальная плоскость в виде двух пластин под установку на них левых и правых рабочих цилиндров 2 по семь с каждой стороны. Как и многие элементы конструкции пресса, снизу станина 1 может быть усилена косынками, ребрами, профилем и иметь установочные элементы крепления. Станина может быть выполнена и из разнообразного профиля, например швеллера и двутавра, но при этом она должна иметь одну общую горизонтальную плоскость под всеми рабочими цилиндрами 2.

Рабочие цилиндры 2 приобретаются или изготавливаются с диаметром плунжера 160 мм и высотой h, равной 400 мм, с рабочим давлением не менее 30 МПа.

На плунжеры устанавливается нижняя подвижная плита 3 с габаритными размерами 1730х1760 мм и максимальной высотой 400 мм. Нижняя подвижная плита 3 состоит из прямоугольного плоского основания и расположенной сверху формообразующей части с установленной неразъемным соединением нагревательной плитой 5. Аналогично изготавливается верхняя подвижная плита 4 с ответной формообразующей частью, расположенной снизу на прямоугольном плоском основании с установленной неразъемным соединением нагревательной плитой 5. При этом формообразующие части и прямоугольные плоские основания, как верхней, так и нижней подвижной плиты 4, 3, могут быть выполнены как с неразъемным соединением, так и разъемным соединением. Изготовление верхней и нижней подвижных плит 4, 3 с разъемным соединением формообразующей части позволит быстро переналадить работу пресса на изготовление широкого ассортимента прессованной многослойной фанеры различного профиля и формы от плоского волнообразного и ступенчатого профиля до форм части оболочек, сводов, цилиндрической поверхности и сферы. Верхние и нижние подвижные плиты 4 и 3 изготавливаются и устанавливаются симметрично относительно вертикальной плоскости, проходящей через ось симметрии пресса 39 (см. фиг.3) и перпендикулярной ей, проходящей посередине между двух точек пересечения осей отверстия подвеса и вертикальной оси отверстий наконечника 21 на поперечинах 17 (см. фиг.2). Надо отметить, что относительно этих двух плоскостей симметрично устанавливаются рабочие цилиндры 2 на горизонтальной плоскости, силовые стойки 16 с перекладинами 17, траверса 19, выступы 6 с направляющими 7 и распределителем нагрузки 52 на подвижную верхнюю плиту 4, рычаги 9 с объединяющими перекладинами 11 и гидроцилиндрами поворота 13, а также подвешенные нагревательные плиты 5. Распределители нагрузки 52 в количестве семи штук изготавливают из металлического листа толщиной 40.0 мм и устанавливают под углом к горизонтальной верхней поверхности на прямоугольном плоском основании верхний подвижной плиты 4 в виде двух сторон трапеции, образованной снизу верхней поверхностью подвижной плиты 4, являющейся нижним основанием. Сверху с двух сторон наклонных металлических листов толщиной 40.0 мм, объединяя их, накладывают и приваривают отрезки металлических листов толщиной по 20,0 мм, формируя верхнее малое основание равнобедренной трапеции с усиливающей балкой между параллельными сторонами трапеции и расположенной по ее середине. Снизу наклонные металлические листы имеют изнутри вырезы в виде уголков с опорой на подвижную верхнюю плиту 4. Снаружи наклонные металлические листы снизу имеют выступы 6 в виде горизонтальных площадок, выходящих за поперечные габариты не только подвижных плит, но и рычагов 9, установленных в вертикальном положении. При этом после смыкания плит выступы 6 входят в отверстия захватов 8, а на выходе из этих отверстий захватов 8 в вертикальном положении рычагов 9 имеют гарантированный выход, в нашем случае, не менее 40.0 мм за пределы отверстий захватов 8 наружу.

Распределители нагрузки 52 могут быть выполнены аналогично станине 1, но в другой последовательности и размерности. Например, из семи прямоугольных листов стали размером 300х2000 мм и толщиной 40,0 мм, установленных на длинное ребро сверху на подвижную верхнюю плиту 4 с выходом части этих листов за габаритные размеры подвижной верхней плиты 4. Концы этих листов, выходящие за габаритные размеры, имеют, как и в первом случае, одинаковое исполнение выступов 6 с направляющими 7. А прямоугольные листы стали размером 300х420 мм и толщиной 20,0 мм устанавливают на длинное ребро в наборе между первыми, не вынося их за габаритные размеры верхней подвижной плиты 4. При этом четвертый стальной лист длиной 2000 мм устанавливается в вертикальной плоскости, проходящей вдоль оси симметрии пресса 39, а остальные по три с каждой стороны параллельно ей и проходящие через вертикальные оси установленных рабочих гидроцилиндров 2 и соответственно вертикальной оси отверстий захватов 8 и рычагов 9.

Левые и правые силовые стойки 16 изготавливаются из прямоугольного профиля 150х150 мм и устанавливаются на расстоянии друг от друга, равном 2600 мм, на основаниях с усиливающими ребрами и креплением (не обозначены) к плоской горизонтальной поверхности пола под прессом. Сверху левые силовые стойки 16 объединяют, устанавливая сверху на них перекладину 17, сделанную из двутавра №24 длиной 1200 мм, и соединяя их при помощи сварки. Аналогично объединяют правые силовые стойки 16. Наконечник 21 штока 28 сверху имеет вилку с отверстиями для крепления его при помощи шарнирного соединения к перекладине 17. При этом ось шарнирного соединения наконечника 21 и отверстия перекладины 17 находятся в вертикальной плоскости, проходящей через ось симметрии пресса 39. В месте шарнирного соединения перекладина 17 усилена с двух сторон пластинами, а нижняя полка в месте установки пластин фрезеруется с двух сторон под размер шириной 40.0 мм для установки вилки наконечника 21. Снизу наконечник 21 (см. фиг.4) имеет резьбу, на которую наворачивают выступающий конец штока 28, и это соединение контрится гайкой от проворачивания. При этом выступающие концы штоков 28 двух гидроцилиндров подъема 18 предварительно пропускают через отверстия ответной части 34 с двух сторон траверсы 19.

Сама траверса 19 может быть изготовлена, например, из двух расположенных параллельно двутавров №20 длиной 2900 мм с зазором между ними, равным 120 мм, концы двутавров соединены пластинами при помощи сварки. Две из таких пластин расположены горизонтально под верхними полками двутавра, объединяя их, и имеют ступенчатые сквозные отверстия для установки ответной части 34 для сферического наконечника 33 гидроцилиндров подъема 18. Так как на концах траверсы 19 сложно выполнять сферические поверхности отверстия, оси которых совпадают с осью штоков 28, то с целью упрощения технологии изготовления их с заданными параметрами пластины, расположенные горизонтально, имеют ступенчатые сквозные отверстия. Поэтому сферические поверхности отверстия ответной части 34 выполняются отдельным элементом и при помощи прижимных шайб 53 и винтов крепятся в ступенчатом отверстии траверсы 19.

Таким образом, траверса 19 (см. фиг.1) вместе с двумя гидроцилиндрами подъема 18 подвешены на перекладинах 17 над верхней подвижной плитой 4, которую подвешивают при помощи четырех тяг 20 к траверсе 19. Эту установку тяг 20 к двутаврам №20 траверсы 19 осуществляют аналогично установке наконечника 21 к перекладине 17. Две тяги 20, разнесенные на расстояние 1600 мм друг от друга, устанавливают на одном двутавре, а две другие - на другом двутавре. Снизу тяги 20 устанавливают тоже шарнирным соединением, совмещая отверстия проушин на конце тяг с отверстиями вилок на пластинах, и в совмещенные отверстия вставляют оси диаметром Ø=40.0 мм. Вилки устанавливают пластинами сверху на верхнюю подвижную плиту 4 и крепят неразъемным соединением.

Изготовление и сборка гидроцилиндра подъема начинается с изготовления цилиндрического корпуса 22 (см. фиг.4) с наружным диаметром Ø=140.0 мм и внутренним диаметром Ø=125 мм и длиной 2420 мм. На одном конце нарезают резьбу на длину 50.0 мм, к другому приваривают глухое дно 23 с заходом его части во внутрь корпуса 22. В корпусе 22 просверливают два сквозных отверстия диаметром Ø=20.0 мм и приваривают два штуцера 25 с внутренней резьбой. При этом оси отверстий 24 и штуцеров 25 совпадают и находятся на одной направляющей цилиндрической поверхности. Ось нижнего отверстия 24 от дна находится на расстоянии 55 мм, а ось верхнего отверстия 24 находится на расстоянии 65 мм от торца с резьбой. Шток 28 изготавливают диаметром 63.0 мм с двумя проточками снизу для установки стопорных колец, препятствующих смещению поршня 26 вдоль оси штока 28. Между этими проточками сделана третья проточка для герметизирующего уплотнения между штоком 28 и поршнем 26. По наружному диаметру поршень 26 имеет две проточки под направляющие кольца и две проточки для герметизирующего уплотнения между поршнем 26 и внутренним диаметром корпуса 22. Поршень имеет длину 70.0 мм. Направляющая втулка 30 имеет длину 90 мм и по внутреннему диаметру имеет две проточки, одну под направляющее кольцо и другую - для герметизирующего уплотнения между поршнем 26 и внутренним диаметром направляющей втулки 30. По наружному диаметру направляющая втулка 30 имеет выступ 31 и проточку для герметизирующего уплотнения между наружным диаметром Ø=125 мм направляющей втулки 30 и внутренним диаметром корпуса 22. Выступ 31 имеет ширину 5.0 мм и диаметр, не препятствующий установке ступенчатой крышки 32. Направляющая втулка 30 может иметь по наружному диаметру Ø=125 мм и выточку диаметром 110 мм и длиной 25.0 мм. Ступенчатая крышка 32 имеет большой наружный диаметр Ø=170 мм длиной 50.0 мм и наружный малый диаметр Ø=85.0 мм длиной 30.0 мм с выступом на конце диаметром Ø+ =95.0 мм и длиной 15.0 мм со сферическим окончанием, соответствующим сферической ответной части 34 траверсы 19. На фиг.4 сферическое окончание выполнено раздельно как вариант более простого изготовления. Крышка 32 по оси имеет сквозное отверстие для перемещения вала и расточку глубиной 40.0 мм с резьбой для ее установки на наружный диаметр с резьбой цилиндрического корпуса 22. Вначале собирают шток 28 с поршнем 26 и в сборе вставляют в корпус 22 до упора. Затем на шток 28 надевают направляющую втулку 30 в сборе с уплотнениями и направляющими элементами и вдвигают в корпус до упора выступа 31 в торец корпуса 22 и закрывают крышкой, пропуская шток 28 через ее осевое отверстие и наворачивая крышку, сделанную заодно со сферическим наконечником 33, до упора. На внутренней стороне сквозного осевого отверстия ступенчатой крышки 32 можно установить грязесъемник (не показан). Затем готовый гидроцилиндр подъема 18 устанавливается по ранее описанной схеме. Чтобы шток 28 не проворачивался, на его свободном конце делаются лыски под ключ.

Изготовление и сборка нагревательной плиты 5 в нашем случае осуществлялись с изготовления каркаса. Для его изготовления брался металлический лист толщиной 3,0 мм и сгибался по дуге радиусом R=3260 мм до получения части цилиндрической поверхности в плане, т.е. по длине хорды, равной 1670 мм, с образующей длиной, равной 1640 мм. На изготовленный с такими параметрами нижний металлический лист 47 (см. фиг.8) сверху дуги накладывались прямолинейные отрезки 48 длиной 1640 мм прямоугольного профиля 20х30 мм толщиной 2.0 мм. Шаг по дуге с расстоянием h2 между этими прямолинейными отрезками 48 составлял 68.0 мм. Количество таких прямолинейных отрезков 48, уложенных стороной, равной 30,0 мм симметрично относительно центра дуги и параллельно образующей на нижний металлический лист 47, составляло семнадцать штук. При этом один из прямолинейных отрезков 48 укладывался вдоль центра дуги симметрично. Уложенные таким образом прямолинейные отрезки 48 соединялись с нижним металлическим листом 47 при помощи точечной сварки или прерывистой сваркой, или саморезами снизу нижнего металлического листа 47 впотай по два с краев прямолинейных отрезков 48. Возможна любая комбинация их крепления.

Для изготовления греющего контура или коллектора нагревательной плиты 5 использовался тот же профиль, что и для изготовления прямолинейных отрезков 48. Только в этом случае коллектор изготавливался на деревянной оправке в виде двух брусков или досок с металлической подкладкой, согнутых по внешней дуге с радиусом R+t=3263 мм, разнесенных между собой и жестко соединенных. Если взять расстояние между этими двумя параллельно расположенными брусками или досками шириной 200 мм по их серединам, равным 1650 мм, а длину дуги в плане с хордой, равной 1770 мм, то получится удобное приспособление для изготовления коллектора и, в целом, нагревательной плиты 5, описываемой в конкретном примере исполнения. Если такое приспособление снабдить средством передвижения, например колесами, то оно может быть названо ложементом.

На этом приспособлении делают определенную разметку, например делают отметку центра дуги, где горизонтальная плоскость, касательная к дуге, будет параллельна горизонтальной плоскости, в которой расположены хорды длиной, равной 1770 мм. Для изготовления труб 49 берется прямоугольный профиль 20х30 мм толщиной 2.0 мм, согнутый по дуге с радиусом R+t=3263 мм, с длиной по хорде, равной 1680 мм, и укладывается сверху внешней стороной вдоль середины дуги, отмеченной на доске приспособления. Аналогичный прямоугольный профиль также укладывается на параллельной доске приспособления. Середины дуг профиля и приспособления совмещают. Затем они фиксируются в этом положении штырями, которые устанавливаются в середине промежутков между прямолинейными отрезками 50 коллектора из прямоугольного профиля 20х30 мм. Затем от середины дуги вниз по дуге откладывают в две стороны по 34,25 мм и устанавливают между труб 49 два прямолинейных отрезка 50 коллектора длиной 1650 мм параллельно образующей с зазором между ними по дуге, равным 68,5 мм, фиксируя их в этом положении штырями. Потом устанавливают следующие шестнадцать прямолинейных отрезков 50 с зазором по дуге, равным 68,5 мм, фиксируя их в этом положении штырями. На трубах 49 отмечают стыки с торцами прямолинейных отрезков 50 и снимают их для изготовления соответствующих отверстий. При этом восемнадцать прямолинейных отрезков 50 остаются на месте. После изготовления отверстий для прохождения теплоносителя трубы 49 возвращают на место и производится сварка их с прямоугольными трубами, из которых изготовлены прямолинейные отрезки 50, которые остались лежать на ложементе. Сварка производится по трем сторонам периметра: сверху по стороне, равной 30.0 мм, и сверху вниз по двум боковым сторонам, равным 20.0 мм. Для этого в районе сварки снизу под стыком делается углубление с установкой в нем металлического поддона для предохранения от возгорания. После остывания швов коллектор переворачивают и заваривают последнюю сторону периметра. Затем два торцевых отверстия, расположенных по диагонали, закрывают заглушками и заваривают, а другие два оснащают патрубками 54. С внешней стороны к двум крайним прямолинейным отрезкам 50 по всей длине устанавливают с помощью сварки полосу торца 55 с двумя кронштейнами 37, расположенными с внешней стороны таким образом, чтобы оси 38 находились в горизонтальной плоскости и были перпендикулярны вертикальной плоскости, проходящей через ось симметрии пресса 39. Полоса торца 55 представляет собой прямоугольный профиль 16х25 мм сплошного сечения. Крепление кронштейнов 37 можно осуществить с помощью винтов к полосе торца 55 нагревательной плиты сближая или раздвигая их, относительно друг друга, регулируя тем самым величину зазора между раздвинутыми нагревательными плитами, при условии, что расстояние между отверстиями для установки осей 40 и 45 у рычагов 42, 43 и 44 будет постоянным. Регулировать величину зазора между раздвинутыми нагревательными плитами можно расстоянием между отверстиями для установки осей 40 и 45 у рычагов 42, 43 и 44, если установка кронштейнов 37 будет на постоянной основе. Для регулировки величины зазора между раздвинутыми нагревательными плитами можно использовать и комбинацию этих двух регулировок.

Затем на расположенный снизу каркас в сборе сверху накладывают коллектор в сборе, совмещая центр дуги нижнего листа 47 и середину дуг профиля трубы 49 по вертикали с двух сторон. При этом каркас в сборе и коллектор в сборе располагаются дугами вверх. В этом случае прямолинейные отрезки 48 каркаса длиной 1640 мм располагаются между смежными прямолинейными отрезками 50 коллектора с длиной 1650 мм. Затем сверху накладывают верхний металлический лист 51, согнутый по дуге радиусом, равным 3283 мм. Собранные таким образом каркас в сборе, коллектор в сборе и верхний металлический лист 51 соединяются вместе через прямолинейные отрезки 48 с верхним металлическим листом 51 при помощи точечной сварки, или прерывистой сваркой, или саморезами сверху верхнего металлического листа 51 впотай по два к краям прямолинейных отрезков 48. Возможна любая комбинация их крепления.

Кронштейны 37 могут быть изготовлены не только из отрезков Ш-образного профиля длиной 25.0 мм с габаритами 60х60 мм и толщиной профиля 5.0 мм. На фиг.7 показан другой вариант изготовления кронштейна 37, где он изготовлен из двух отрезков профиля каждый длиной 25.0 мм: одного П-образного профиля толщиной 5.0 мм, а другого Г-образного профиля 56, расположенного между стойками П-образного профиля кронштейна 37. При этом полка Г-образного профиля 56 совмещена со стойкой П-образного профиля, обращенной при установке его к торцевой стороне нагревательной плиты 5. Вместо П-образного профиля и Г-образного профиля для изготовления кронштейна 37 можно использовать пластины, согнутые соответствующим образом. Сам Ш-образный профиль может быть усилен пластиной, объединяющей два конца его стоек, обращенных к торцевой стороне нагревательной плиты 5, пластиной, вместо Г-образной пластины стойки 56. Изготовление пружинного рычага 42, среднего рычага 43 и вспомогательного рычага 44 осуществляется из пластин толщиной 3.0 мм, при этом средний рычаг 43 изготавливался из спаренных листов. Расстояние между осями отверстий 10.0 мм для установки оси шарнирного соединения 40 и оси шарнирного соединения 45 было взято равным 120 мм.

Пресс работает следующим образом.
Между нагревательных плит 5, когда подвижная верхняя плита 4 находится в самом верхнем положении, на фиг.1 это правая половина изображения пресса, укладываются листы шпона с нанесенным на них клеем (на фиг.1 эти листы заготовок изделий 57 не показаны). В это время верхняя полость 29 гидроцилиндра подъема 18 находится под давлением и крышка 32 своим сферическим наконечником 33 удерживает траверсу 19 в верхнем положении, а рычаги 9 с объединяющей перекладиной 11 с двух сторон отведены к силовым стойкам 16 штоками 12 гидроцилиндров поворота 13. При этом между пружинными рычагами 42 и вспомогательными рычагами 44 каждой нижерасположенной нагревательной плиты 5 и средними рычагами 43 каждой верхней нагревательной плиты 5 образуется подвижный угол λмах (см. фиг.5). Пружины 36 позволяют держать этот угол в устойчивом состоянии. После укладки листов заготовок изделий 57 между нагревательных плит 5 из полости 29, заполненной маслом под давлением, сбрасывается давление, и траверса 19 ответной частью 34 давит на сферический наконечник 33 и опускается вместе с крышкой 32 и корпусом 22 двух гидроцилиндров подъема 18. Подается давление в нижнюю полость 27 гидроцилиндров подъема 18 и т.к. поршень 26 со штоком 28 не могут перемещаться вверх, то создается дополнительное давление для смыкания нагревательных плит 5 и промежуточного поджатая листов заготовок изделий 57 между ними. Величина давления является расчетной и зависит от многих факторов для достижения расстояния между нижней подвижной плитой 3 и верхней подвижной плитой 4, равным H1, где H1 расстояние, обеспечивающее захват выступов 6 отверстиями захватов 8 рычагами 9. При достижении расчетного расстояния H1 подается давление на гидроцилиндры поворота 13, и штоки 12 перемещают объединяющие перекладины 11 с двух сторон от силовых стоек 16 к выступам 6, захватывая их по семь с каждой стороны. Направляющие 7 способствуют этому захвату. Сбрасывается давление из нижней полости 27 гидроцилиндра подъема 18. Это положение пресса соответствует левой половине фиг.1. При этом подвижный угол λ уменьшается.

Затем на рабочие цилиндры подается расчетное давление, соответствующее для получения данного изделия 57 (см. фиг.6), и расстояние между нижней подвижной плитой 3 и верхней подвижной плитой 4 становится равным H1-h1 (см. фиг.2), где h1 - величина хода плунжера рабочего цилиндра 2. В это время подвижный угол λ является минимальным. Величина его зависит от толщины нагревательных плит 5, расстояния между осями шарнирного соединения 40 и шарнирного соединения 45 и радиуса R. В процессе работы пресса в один патрубок 54 (см. фиг.8), например слева нагревательных плит 5, подается вода, подогретая до температуры 100°С, а из противоположного, например справа по диагонали, выходит. Подача теплоносителя в смежные нагревательные плиты 5 происходит в обратном порядке справа налево. В общем процесс прессования проходит при давлении 18-24 кГ/см2 при температуре 90-100°С, в качестве теплоносителя можно использовать масло, пар и другие жидкие среды. После определенной выдержки, установленной технологическим процессом, из рабочих цилиндров 2 сбрасывается давление. Штоками 12 гидроцилиндров поворота 13 отводят рычаги 9 с перекладиной 11 с двух сторон к силовым стойкам 16, освобождая выступы 6 от отверстий захватов 8. Подается давление в верхние полости 29 гидроцилиндров подъема 18, и крышка 32 своим сферическим наконечником 33 поднимает траверсу 19 в верхнее положение и удерживает ее там. При этом упругие связи нагревательных плит 5 гасят возможные колебания последних. Поэтому после размыкания нагревательных плит 5 с образованием подвижного угла λмах (см. фиг.5) изделия снимают с них и заполняют новыми заготовками. Процесс повторяется.

Расположение центра масс подвижной части пресса ниже, чем установочный шарнир наконечника 21 штока 28, на котором подвешен гидроцилиндр подъема 18, и применение гидроцилиндра подъема 18 со сферическим наконечником на крышке 32 позволяет использовать пресс без дорогостоящих и металлоемких направляющих колонн ближайших аналогов.

Таким образом, предлагаемая группа изобретений позволяет упростить конструкцию и повысить ее надежность, снизить металлоемкость конструкции и повысить технологичность изготовления, что в итоге приводит к снижению материальных затрат не только на изготовление и эксплуатацию пресса, но и на выпускаемую продукцию расширенного ассортимента.

Изготовленный пресс на примере склейки гнутой фанеры, идущей на изготовление латофлекса, позволяет получить следующие основные характеристики:
Наименование параметров Данные
Номинальное усилие пресса, кН до 16000
Габаритные размеры, мм
    • слева направо
    • спереди назад
    • высота

3800
1900
5380
Количество этажей (оптимальное) 14-20
Высота рабочего промежутка (расстояние между плит), мм 153
Толщина получаемой фанеры, мм 3,0-105.0
Размеры нагревательных плит, мм
    • слева направо
    • спереди назад
    • толщина
    • радиус сгиба R

1650-3100
1600-1700
28.0
от 2000 до плоских
Температура нагревательных плит, С 100-120
Теплоноситель вода

  1. Гидравлический многоэтажный пресс, содержащий станину с расположенными внизу рабочими цилиндрами, гидроцилиндры подъема, подвижную верхнюю плиту, подвижную нижнюю плиту, расположенную на плунжерах рабочих цилиндров, и нагревательные плиты, расположенные между подвижными верхней и нижней плитами, отличающийся тем, что он дополнительно содержит траверсу, расположенную с двух сторон на сферических наконечниках крышек гидроцилиндров подъема, и распределитель нагрузки, расположенный на подвижной верхней плите и имеющий выступы, выходящие за пределы поперечных габаритов верхней плиты и входящие в отверстия захватов с рычагами, которые посредством шарнирного соединения по вертикали расположены на станине между выступами основания, количество которых соответствует количеству рабочих цилиндров, а два гидроцилиндра подъема штоками подвешены сверху к перекладинам силовых стоек, которые снизу расположены на одном уровне с основанием, за пределами поперечных габаритов основания, а на силовых стойках установлены по два гидроцилиндра поворота с возможностью осуществления одновременного перемещения рычагов с помощью объединяющих перекладин, при этом нагревательные плиты, в том числе расположенные на подвижной верхней плите и подвижной нижней плите, объединены упругими связями с двух противоположных сторон, обращенных к силовым стойкам.
  2. Пресс по п.1, отличающийся тем, что выступы распределителя нагрузки выполнены с направляющими.
  3. Пресс по п.1, отличающийся тем, что подвижные верхняя и нижняя плиты имеют разъемные формообразующие части.
  4. Гидроцилиндр подъема гидравлического многоэтажного пресса, содержащий корпус, расположенный между днищем и крышкой и выполненный с двумя отверстиями для подачи рабочего агента, поршень, втулку, крышку, причем одно из отверстий корпуса расположено между поршнем и днищем, а второе - с другой стороны цилиндра над поршнем у втулки с выступом, расположенным на другом торце корпуса, при этом поршень расположен посредством двух установочных пружинных колец на конце штока, который имеет возможность упора в днище крышки при его нижнем расположении с образованием нижней полости под поршнем, соединенной с первым отверстием, а полость над поршнем соединена со вторым отверстием, при этом поршень имеет на наружном диаметре проточки для двух разнесенных опорных колец, между которыми расположено герметичное уплотнение, а шток имеет проточку с герметичным уплотнением между ним и поршнем, крышка выполнена обеспечивающей фиксирование втулки от перемещения, при этом втулка по внешнему диаметру имеет проточку с герметичным уплотнением, а по внутреннему диаметру - две проточки с опорными кольцами и проточку с герметизирующим уплотнением между ней и штоком, который выступает за пределы крышки и выполнен с окончанием для подсоединения, отличающийся тем, что крышка выполнена ступенчатой с расположенным на конце малого диаметра выступом, торцевая часть которого выполнена со сферическим наконечником для обеспечения стыковки крышки с траверсой.
  5. Нагревательная плита гидравлического многоэтажного пресса, содержащая коллектор, образованный размещенными внутри плиты трубами, отличающаяся тем, что она содержит каркас в виде нижнего металлического листа с установленными на нем сверху прямолинейными отрезками прямоугольного профиля, расположенными параллельно друг другу, коллектор совмещен с каркасом и состоит из двух параллельно расположенных труб прямоугольного профиля, являющихся направляющими для получения поверхности нагревательной плиты, и расположенных между ними прямолинейных отрезков прямоугольных труб, расположенных параллельно друг другу и перпендикулярно к направляющим трубам, имеющим отверстия для обеспечения свободного перемещения теплоносителя в коллекторе, на котором с внешней стороны к двум крайним прямолинейным отрезкам прямолинейных труб по всей длине установлены полосы торца с двумя кронштейнами для обеспечения упругих связей между смежными нагревательными плитами, при этом сверху совмещенные каркас и коллектор накрыты верхним металлическим листом.

150002, Ярославль, Б.Федоровская, 103
Тел. (4852) 45-00-01 (8.00-21.00)
Факс (4852) 45-00-02 (8.00-21.00)
Отд. сбыта (4852) 48-63-48 (8.00-17.00)

stanki@fanmash.ru
Схема проезда


Фиг.1 - общий вид пресса. Левая половина с сомкнутыми нагревательными плитами, правая с раздвинутыми нагревательными плитами
Фиг.2 - вид сбоку без гидроцилиндров поворота
Фиг.3 - вид сверху по стрелке А
Фиг.4 - сечение Б-Б гидроцилиндра подъема при поднятой траверсе. Нагревательные плиты разъединены
Фиг.5 - вид по стрелке В на нагревательные плиты со стороны установки рычагов с пружинами при расположении подвижной верхней плиты, в крайнем верхнем положении
Фиг.6 - вид по стрелке В на нагревательные плиты со стороны установки рычагов с пружинами при расположении подвижной верхней плиты, в крайнем нижнем положении
Фиг.7 - вид по стрелке Г на кронштейн с рычагами
Фиг.8 - вид по стрелке Д на нагревательную плиту
Яндекс.Метрика